Smartfony ze składanymi ekranami nie są już dzisiaj na rynku sensacją. Swoje propozycje w tym segmencie wprowadziły m.in. koncerny Samsung w postaci Galaxy Z Fold 2, jak i Huawei, który ma w portfolio model Mate Xs.
Na razie jednak składane smartfony ze względu na swoje wysokie ceny są kierowane głównie do zamożnych entuzjastów nowych technologii mobilnych i stanowią margines sprzedaży w segmencie telefonów.
Czytaj także: 72 proc. iPhone'ów na najnowszym iOS, gorzej z iPadami i iPadOS
Apple testuje składane smartfony
Teraz w internecie pojawiły się informacje, że w przyszłości własną propozycję składanego smartfona może przedstawić także Apple, producent iPhone’ów.
Według nieoficjalnych doniesień w jednej z fabryk w Chinach Apple prowadzi zaawansowane testy składanych smartfonów. Na warsztacie inżynierów mają być dwie różne koncepcje takiego urządzenia.

Pierwszy z projektów przewiduje smartfon złożony z dwóch osobnych ekranów, które będą się składać ze sobą za pośrednictwem odpowiednich zawiasów.
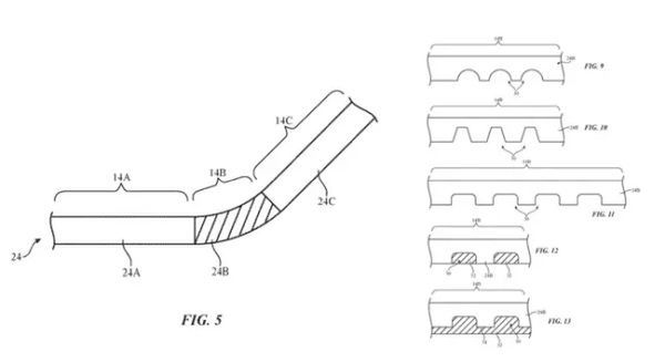
Drugi prototyp przewiduje zastosowanie jednego elastycznego wyświetlacza, który będzie się składał w połowie, podobnie jak ma to miejsce w smartfonach Samsunga czy Huawei. W tej koncepcji Apple ma wykorzystywać zginany ekran OLED pochodzący od Samsunga.

Prowadzone obecnie testy mają przede wszystkim sprawdzić wytrzymałość ekranów i pozostałych elementów konstrukcji. To istotny element, bowiem sceptycy składanych smartfonów wyrażają m.in. poważne obawy o niezawodność i czas bezawaryjnej pracy składanych urządzeń.
Czytaj także: Apple blokuje domyślne śledzenie naszych działań w internecie. Oczekiwanie na podobny ruch w Androidzie
Na razie nie ma żadnych informacji o tym, kiedy Apple mógłby przedstawić własny model składanego smartfona. Według ostrożnych prognoz mogłoby to nastąpić w 2022 lub 2023 r.
W zakończonym 26 września 2020 r. IV kwartale roku finansowego 2020, Apple zanotowało przychód w wysokości 64,7 miliarda dolarów. To o 1 proc. więcej niż rok wcześniej (64,04 mld USD). Zysk netto zmalał w ujęciu rocznym z 13,69 mld dolarów do 12,67 mld dolarów.














