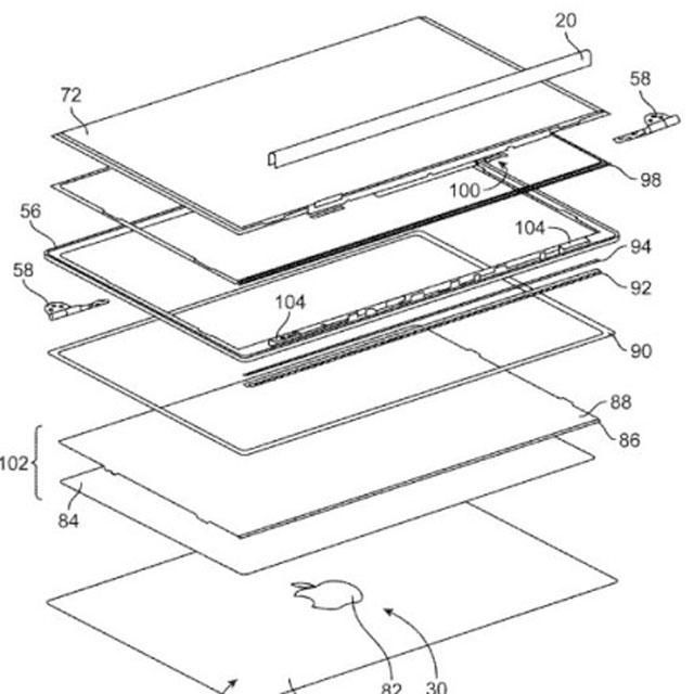
Zarejestrowany patent opisuje wbudowanie w klapę komputera dwóch wyświetlaczy - po wewnętrznej oraz zewnętrznej stronie. Ten ostatni poza swoją nominalną funkcją ma również dysponować kolektorem słonecznym, co pozwoli na ładowanie baterii za pomocą energii pochodzącej z promieni słońca.
Nowe rozwiązanie miałoby działać w dwóch trybach. W pierwszym, ciemne szkło odbijałoby promienie światła i służyło jako standardowy wyświetlacz. W drugim natomiast tafla stawałaby się przeźroczysta i odsłaniała w ten sposób ulokowany pod spodem kolektor.

Nie wiadomo, kiedy nowa technologia mogłaby znaleźć zastosowanie w komputerach Apple. Według niektórych opinii dzisiejsze panele słoneczne nie są dostatecznie wydajne, aby zapewnić efektywne zasilanie komputerowi.













