Apple wcześniej zgłosiło już kilka wniosków patentowych sugerujących, że mogłoby pójść śladami Samsunga czy Motoroli i opracować iPhone'a ze składanym ekranem. Jak na razie jednak żadne tego typu urządzenie nie ujrzało światła dziennego.
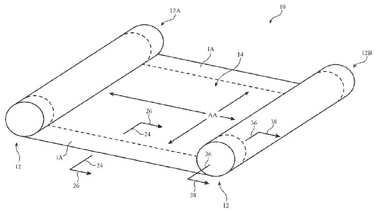
Tymczasem najnowsze zgłoszenie patentowe może oznaczać, że firma z Cupertino rozważa stworzenie iPhone'a z ekranem zwijanym. We wniosku mowa jest o wyświetlaczu, który może zwijać się i rozwijać wokół jednej lub więcej osi. Wspomina się też o "rolkach", w których umieszczony jest ekran, dotykowym panelu i magnesach. Z kolei na obudowie miałby się znaleźć sztywny ekran dotykowy pełniący funkcję wirtualnej klawiatury.
##NEWS https://www.wirtualnemedia.pl/apple-macbooka-air-13-cali-ekranu-i-wieksza-wydajnosc-od-4999-zlotych-macbook-air-konfiguracja-gdzie-kupic-cena-opinie,7170732344452737a ##

Opis zgłoszenia mówiący o "urządzeniu elektronicznym z elastycznymi strukturami wyświetlacza" nie precyzuje o jakie konkretnie urządzenie chodzi. W teorii patent mógłby mieć zastosowanie nie tylko do iPhone'a, ale też do iPada, MacBooka, czy nawet zegarka Apple Watch. Aczkolwiek wersja z iPhonem wydaje się najbardziej prawdopodobna.
Ze szczegółami zgłoszenia patentowego Apple można zapoznać się na stronie USPTO pod tym adresem.
W czwartym kwartale ub.r. Apple osiągnął wzrost przychodów sprzedażowych o 8,9 proc. do 91,82 mld dolarów oraz zysku netto z 19,96 do 22,24 mld dolarów. Mocno wzrosły wpływy ze sprzedaży iPhone’ów, urządzeń wearables, akcesoriów domowych i usług, a także w Europie oraz Amerykach. Zmalała natomiast wartość sprzedaży Maców i iPadów.














