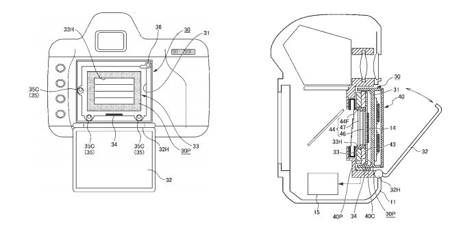
Zarejestrowany patent wskazuje na konstrukcję urządzenia, w którym matryca (a w niektórych przypadkach również procesor obrazu) mogłyby zostać wymienione w aparacie po odkręceniu kilku śrubek w obudowie. Miałoby to być odpowiedzią na szybki rozwój technologii w segmencie fotografii, który skutkuje tym, że aparaty mimo nowoczesnej optyki i innych zaawansowanych parametrów stają się przestarzałe wskutek niedostatecznie dobrej matrycy. Sama wymiana tego podzespołu miałaby być natomiast o wiele tańsza niż zakup nowego aparatu.
Nie jest to pierwsza próba skonstruowania modelu z wymienną matrycą. Wcześniej Nikon już dwukrotnie rejestrował patenty, których założeniem było wyprodukowanie tego typu rozwiązania. Jak dotąd nie wprowadzono go na rynek.

Na początku września Nikon poszerzył natomiast swoją linię kompaktowych aparatów Coolpix o dwa nowe modele (przeczytaj o tym więcej).














